summary
展望未来
Kubernets已经成为了容器调度编排的事实标准,而容器正好可以作为微服务的最小工作单元,从而发挥微服务架构的最大优势。所以未来微服务架构会围绕Kubernetes展开。而Istio和Conduit这类Service Mesh天生就是为了Kubernetes设计,它们的出现补足了Kubernetes在微服务间服务通讯上的短板。虽然Dubbo、Spring Cloud等都是成熟的微服务框架,但是它们或多或少都会和具体语言或应用场景绑定,并只解决了微服务Dev层面的问题。若想解决Ops问题,它们还需和诸如Cloud Foundry、Mesos、Docker Swarm或Kubernetes这类资源调度框架做结合:

但是这种结合又由于初始设计和生态,有很多适用性问题需要解决。
Kubernetes则不同,它本身就是一个和开发语言无关的、通用的容器管理平台,它可以支持运行云原生和传统的容器化应用。并且它覆盖了微服务的Dev和Ops阶段,结合Service Mesh,它可以为用户提供完整端到端的微服务体验。
所以我认为,未来的微服务架构和技术栈可能是如下形式:

多云平台为微服务提供了资源能力(计算、存储和网络等),容器作为最小工作单元被Kubernetes调度和编排,Service Mesh管理微服务的服务通信,最后通过API Gateway向外暴露微服务的业务接口。
未来随着以Kubernetes和Service Mesh为标准的微服务框架的盛行,将大大降低微服务实施的成本,最终为微服务落地以及大规模使用提供坚实的基础和保障。
小结
-
第一代为Spring Cloud为代表的服务治理能力,是和业务代码紧耦合的,没法跨编程语言去使用
-
为了可以实现通用的服务治理能力,istio会为每个业务pod注入一个sidecar代理容器

-
为了能够做到服务治理,需要接管pod内的出入流量,因此通过注入的时候引入初始化容器istio-init实现pod内防火墙规则的初始化,分别将出入站流量拦截到pod内的15001和15006端口
-
同时,注入了istio-proxy容器,利用envoy代理,监听了15001和15006端口,对流量进行处理
-
istio在istio-system命名空间启动了istiod服务,用于监听用户写入etcd中的流量规则,转换成envoy可度的配置片段,通过envoy支持的xDS协议,同步到网格内的各envoy中
-
envoy获取规则后,做reload,直接应用到了用户期望的转发行为
-
envoy提供了强大的流量处理规则,包含了流量路由、镜像、重试、熔断、故障注入等,同时,也内置了分布式追踪、Prometheus监控的实现,业务应用对于这一切都是感知不到的
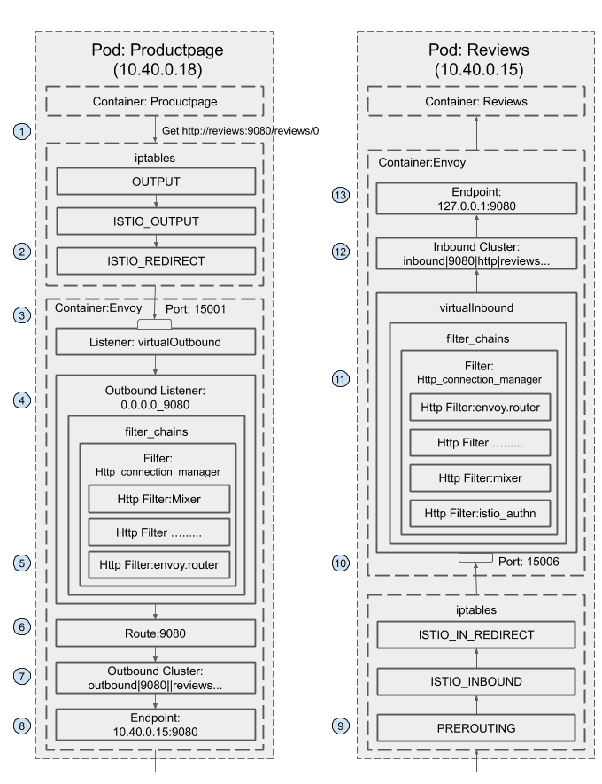
最后,通过分析bookinfo中,从 Productpage服务调用Reviews服务的 请求流程 来回顾istio重点:

-
Productpage发起对Reviews服务的调用:
http://reviews:9080/reviews/0 -
请求被Productpage Pod的iptable规则拦截,重定向到本地的15001端口
# OUTPUT 链:将所有出站数据包跳转到 ISTIO_OUTPUT 链上。
Chain OUTPUT (policy ACCEPT 46 packets, 3926 bytes)
pkts bytes target prot opt in out source destination
8 480 ISTIO_OUTPUT tcp -- * * 0.0.0.0/0 0.0.0.0/0
# ISTIO_OUTPUT 链:选择需要重定向到 Envoy(即本地) 的出站流量,所有非 localhost 的流量全部转发到 ISTIO_REDIRECT。为了避免流量在该 Pod 中无限循环,所有到 istio-proxy 用户空间的流量都返回到它的调用点中的下一条规则,本例中即 OUTPUT 链,因为跳出 ISTIO_OUTPUT 规则之后就进入下一条链 POSTROUTING。如果目的地非 localhost 就跳转到 ISTIO_REDIRECT;如果流量是来自 istio-proxy 用户空间的,那么就跳出该链,返回它的调用链继续执行下一条规则(OUTPUT 的下一条规则,无需对流量进行处理);所有的非 istio-proxy 用户空间的目的地是 localhost 的流量就跳转到 ISTIO_REDIRECT。
Chain ISTIO_OUTPUT (1 references)
pkts bytes target prot opt in out source destination
0 0 RETURN all -- * lo 127.0.0.6 0.0.0.0/0
0 0 ISTIO_IN_REDIRECT all -- * lo 0.0.0.0/0 !127.0.0.1 owner UID match 1337
0 0 RETURN all -- * lo 0.0.0.0/0 0.0.0.0/0 ! owner UID match 1337
8 480 RETURN all -- * * 0.0.0.0/0 0.0.0.0/0 owner UID match 1337
0 0 ISTIO_IN_REDIRECT all -- * lo 0.0.0.0/0 !127.0.0.1 owner GID match 1337
0 0 RETURN all -- * lo 0.0.0.0/0 0.0.0.0/0 ! owner GID match 1337
0 0 RETURN all -- * * 0.0.0.0/0 0.0.0.0/0 owner GID match 1337
0 0 RETURN all -- * * 0.0.0.0/0 127.0.0.1
0 0 ISTIO_REDIRECT all -- * * 0.0.0.0/0 0.0.0.0/0
# ISTIO_REDIRECT 链:将所有流量重定向到 Sidecar(即本地) 的 15001 端口。
Chain ISTIO_REDIRECT (1 references)
pkts bytes target prot opt in out source destination
0 0 REDIRECT tcp -- * * 0.0.0.0/0 0.0.0.0/0 redir ports 15001 -
15001端口上监听的Envoy Virtual Outbound Listener收到了该请求
$ istioctl pc listener productpage-v1-785b4dbc96-2cw5v.bookinfo --port 15001 -ojson|more
[
{
"name": "virtualOutbound",
"address": {
"socketAddress": {
"address": "0.0.0.0",
"portValue": 15001
}
},
... -
请求被Virtual Outbound Listener根据原目标IP(通配)和端口(9080)转发到0.0.0.0_9080这个 outbound listener
$ istioctl pc listener productpage-v1-785b4dbc96-2cw5v.bookinfo --port 9080 -ojson
[
{
"name": "0.0.0.0_9080",
"address": {
"socketAddress": {
"address": "0.0.0.0",
"portValue": 9080
}
},
"filterChains": [
{
"filterChainMatch": {
"applicationProtocols": [
"http/1.0",
"http/1.1",
"h2c"
]
},
"filters": [
{
"name": "envoy.filters.network.http_connection_manager",
"typedConfig": {
"statPrefix": "outbound_0.0.0.0_9080",
"rds": {
"configSource": {
"ads": {},
"resourceApiVersion": "V3"
},
"routeConfigName": "9080"
}, -
根据0.0.0.0_9080 listener的http_connection_manager filter配置,该请求采用“9080” route进行分发
-
9080的route中,根据domains进行匹配,将请求交给
outbound|9080|v2|reviews.bookinfo.svc.cluster.local这个cluster处理$ istioctl pc route productpage-v1-785b4dbc96-2cw5v.bookinfo --name 9080 -ojson
...
{
"name": "reviews.bookinfo.svc.cluster.local:9080",
"domains": [
"reviews.bookinfo.svc.cluster.local",
"reviews.bookinfo.svc.cluster.local:9080",
"reviews",
"reviews:9080",
"reviews.bookinfo.svc.cluster",
"reviews.bookinfo.svc.cluster:9080",
"reviews.bookinfo.svc",
"reviews.bookinfo.svc:9080",
"reviews.bookinfo",
"reviews.bookinfo:9080",
"10.109.133.236",
"10.109.133.236:9080"
],
"routes": [
{
"match": {
"prefix": "/",
"caseSensitive": true,
"headers": [
{
"name": "end-user",
"exactMatch": "luffy"
}
]
},
"route": {
"cluster": "outbound|9080|v2|reviews.bookinfo.svc.cluster.local",
"timeout": "1s", -
该cluster为EDS
$ istioctl pc cluster productpage-v1-785b4dbc96-2cw5v.bookinfo --fqdn reviews.bookinfo.svc.cluster.local --direction outbound -ojson
...
"name": "outbound|9080|v3|reviews.bookinfo.svc.cluster.local",
"type": "EDS",
"edsClusterConfig": {
"edsConfig": {
"ads": {},
"resourceApiVersion": "V3"
},
"serviceName": "outbound|9080|v3|reviews.bookinfo.svc.cluster.local"
},
"connectTimeout": "10s",
"lbPolicy": "RANDOM",
"circuitBreakers": {
"thresholds": [
{
"maxConnections": 4294967295,
"maxPendingRequests": 4294967295,
"maxRequests": 4294967295,
"maxRetries": 4294967295
}
]
}, -
查寻EDS对应的endpoint列表
$ istioctl pc endpoint productpage-v1-785b4dbc96-2cw5v.bookinfo --cluster "outbound|9080|v3|reviews.bookinfo.svc.cluster.local" -ojson
[
{
"name": "outbound|9080|v3|reviews.bookinfo.svc.cluster.local",
"addedViaApi": true,
"hostStatuses": [
{
"address": {
"socketAddress": {
"address": "10.244.0.37",
"portValue": 9080
}
},
... -
envoy进程得到了最终需要访问的地址(reviews-v3的podip:port),由envoy做proxy转发出去
-
此时,虽然还是会走一遍envoy的防火墙规则,但是由于是1337用户发起的请求,因此不会被再次拦截,直接走kubernetes的集群网络发出去
-
请求到达reviews-v3, 被iptable规则拦截,重定向到本地的15006端口
# PREROUTING 链:用于目标地址转换(DNAT),将所有入站 TCP 流量跳转到 ISTIO_INBOUND 链上。
Chain PREROUTING (policy ACCEPT 148 packets, 8880 bytes)
pkts bytes target prot opt in out source destination
148 8880 ISTIO_INBOUND tcp -- * * 0.0.0.0/0 0.0.0.0/0
# INPUT 链:处理输入数据包,非 TCP 流量将继续 OUTPUT 链。
Chain INPUT (policy ACCEPT 148 packets, 8880 bytes)
pkts bytes target prot opt in out source destination
# ISTIO_INBOUND 链:将所有入站流量重定向到 ISTIO_IN_REDIRECT 链上,目的地为 15090,15020,15021端口的流量除外,发送到以上两个端口的流量将返回 iptables 规则链的调用点,即 PREROUTING 链的后继 POSTROUTING。
Chain ISTIO_INBOUND (1 references)
pkts bytes target prot opt in out source destination
0 0 RETURN tcp -- * * 0.0.0.0/0 0.0.0.0/0 tcp dpt:15008
0 0 RETURN tcp -- * * 0.0.0.0/0 0.0.0.0/0 tcp dpt:22
0 0 RETURN tcp -- * * 0.0.0.0/0 0.0.0.0/0 tcp dpt:15090
143 8580 RETURN tcp -- * * 0.0.0.0/0 0.0.0.0/0 tcp dpt:15021
5 300 RETURN tcp -- * * 0.0.0.0/0 0.0.0.0/0 tcp dpt:15020
0 0 ISTIO_IN_REDIRECT tcp -- * * 0.0.0.0/0 0.0.0.0/0
# ISTIO_IN_REDIRECT 链:将所有入站流量跳转到本地的 15006 端口,至此成功的拦截了流量到sidecar中。
Chain ISTIO_IN_REDIRECT (3 references)
pkts bytes target prot opt in out source destination
0 0 REDIRECT tcp -- * * 0.0.0.0/0 0.0.0.0/0 redir ports 15006 -
被监听在15006端口的envoy进程处理
$ istioctl pc listener reviews-v3-6c7d64cd96-75f4x.bookinfo --port 15006 -ojson|more
[
{
"name": "virtualInbound",
"address": {
"socketAddress": {
"address": "0.0.0.0",
"portValue": 15006
}
},
... -
VirtualInbound不再转给别的监听器,根据自身过滤器链的匹配条件,请求被Virtual Inbound Listener内部配置的Http connection manager filter处理 , 该filter设置的路由配置为将其发送给
inbound|9080|http|reviews.bookinfo.svc.cluster.local这个inbound的cluster{
"filterChainMatch": {
"destinationPort": 9080
},
"filters": [
{
"name": "istio.metadata_exchange",
"typedConfig": {
"@type": "type.googleapis.com/udpa.type.v1.TypedStruct",
"value": {
"protocol": "istio-peer-exchange"
}
}
},
{
"name": "envoy.filters.network.http_connection_manager",
"typedConfig": {
"statPrefix": "inbound_0.0.0.0_9080",
"routeConfig": {
"name": "inbound|9080|http|reviews.bookinfo.svc.cluster.local",
"virtualHosts": [
{
"name": "inbound|http|9080",
"domains": [
"*"
],
"routes": [
{
"name": "default",
"match": {
"prefix": "/"
},
"route": {
"cluster": "inbound|9080|http|reviews.bookinfo.svc.cluster.local",
"timeout": "0s",
"maxGrpcTimeout": "0s"
} -
inbound|9080|http|reviews.bookinfo.svc.cluster.local配置的endpoint为本机的127.0.0.1:9080,因此转发到Pod内部的Reviews服务的9080端口进行处理。$ istioctl pc endpoint reviews-v3-6c7d64cd96-75f4x.bookinfo --cluster "inbound|9080|http|reviews.bookinfo.svc.cluster.local" -ojson
[
{
"name": "inbound|9080|http|reviews.bookinfo.svc.cluster.local",
"addedViaApi": true,
"hostStatuses": [
{
"address": {
"socketAddress": {
"address": "127.0.0.1",
"portValue": 9080
}
},